丰田最近更新了电动汽车专用手动变速器的专利。这是继今年6月向美国专利局申请后的第二次。根据此次专利申请公开的信息,从技术上看,齿轮单数没有限制。
丰田过去3年开发的电动汽车专用手动变速器是基于纯电动汽车的“虚拟变速系统”。以软件为基础工作。硬件设置由与GR86相同的离合器踏板、H模式变速杆、RPM表组成。

其特点是增加了几种选择“变速模式”的新开关。硬件上实际上没有直接与电机相连的部件。也可以使用Padleshft而不是H模式变速杆,也可以在自动模式下舒适行驶。因此它的作用不是让你变速使用的,而是为了增加一种驾驶的乐趣。

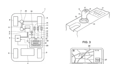
图注:丰田电动汽车专用手动变速器技术相关专利图片
新公布的技术文件图像显示“最多14个齿轮单数”。也就是说最多可以有14个挡位。丰田就电动汽车专用手动变速器解释说:“司机可以根据自己的喜好选择自己喜欢的模式。”

基本上,丰田会提供分六速的“H变速杆”。若用户选用了“6 挡模式”,且当前挂的是 6 挡,系统便会改变当前可用的传动比,提示用户升至更高挡位或降至更低挡位。
虽然不限制司机可以使用的挡位数,但普通司机是否会如此详细地选择模式还是个疑问。因为汽车从诞生到发展至今,一直以来的方向就是越来越简单,越来越智能。但是丰田的思路却反其道而行,不仅给电动车开发手动挡,而且还支持这么多挡位,还美其名曰为了驾驶乐趣。

因此,电动化时代到来后,我们看到很多中国新势力公司,把时间精力放在智能驾驶方面,在这方面进行更多开发。而丰田的研发方向则更多元化,为了给电动车驾驶乐趣,开发电动车的手动变速箱。为了实现半幅式方向盘,开发了线控转向。只是不知道,这些花费了时间精力开发出来的适合电动化的技术,能否给丰田带来真正的价值。
渝公网安备50010502503425号
评论·0